卧式清水离心泵的结构特点及安装注意事项精选
卧式清水离心泵的结构特点及安装注意事项
上海品牌厂家沈泉泵阀生产制造的ISW卧式清水泵,供输送清水及物理化学性质类似于清水的其他液体之用,适用于工业和城市给排水,高层建筑增压送水,园林喷灌,消防增压,远距离输送,暖通制冷循环、浴室等冷暖水循环增压及设备配套,使用温度T≤80℃。
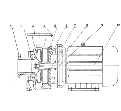
一、卧式清水离心泵结构图:

1、吸入室:采用优秀水力模型设计而成。
2、叶 轮:采用优秀水力模型设计而成,高效节能
3、泵 体:采用优秀水力模型设计而成。
4、取压塞:安装压力表及真空表,以监控泵的正常高效运行。
5、放气塞:确保泵的正常维护。
6、机械密封:采用不锈钢、硬质合金、氟橡胶等材料制成,耐用消费品磨损,无泄漏,运行寿命长。
7、泵 盖:
8、泵 轴:为电机加长轴,确保了轴的同心,使运行平稳,无噪音和振动现象。
9、挡水圈:防止因密封漏水而使电机进水。
10、Y系列电动机:直接与水泵联接传递动力,部分采用上海名牌电机。
二、卧式清水离心泵的特点:
运行平稳:泵轴的绝对同心度及叶轮优异的动静平衡,保证平稳运行,绝无振动。
滴水不漏:不同材质的硬质合金密封,保证了不同介质输送均无泄漏。
噪音低:两个低噪音轴承支撑下的水泵,运转平稳,除电机微弱声响,基本无噪音。
故障率低:结构简单合理,关键部分采用G家YL品质;配套,整机无故障工作时间大大提高。
维修方便:更换密封、轴承,简易方便。
占地更省:出口可向左、向右、向上三个方向,便于管道布置安装,节省空间。
三、卧式清水离心泵的安装示意图:

四、卧式清水离心泵的安装注意事项:
1、安装前应仔细检查泵体流产内有无硬质物,以免运行时损坏叶轮和泵体。
2、安装时管路理量不允许加在泵上,以免使泵变形,影响正常运行。
3、拧紧地脚螺栓,以免起动时振动对泵性能产生影响。
4、在泵的进、出口管路上安装调节阀,在泵出口附近安装压力表,以控制泵在额定工况内运行,确保泵的正常使用。
5、排出管路如装逆止阀应装在闸阀的外面。
6、泵的安装方式分为硬性联接安装和柔性联接安装。
好了,以上内容由上海沈泉管道离心泵厂家为大家提供,希望能够帮助到大家。若是大家还想了解更多相关泵类知识内容,可持续关注本站,沈泉将会为大家时时更新更多相关知识内容。
本文标题: 卧式清水离心泵的结构特点及安装注意事项本文地址:http://www.sqmade.cn/QA/852.html
技术服务
推荐产品
 
- ISG立式管道离心泵上海沈泉泵阀制造有限公司为您提供:ISG立式管道离心泵的性能参数表,安装尺 
 
- ISW卧式管道离心泵上海沈泉泵阀制造有限公司为您提供:ISW卧式管道离心泵的性能参数表,安装尺 
 
- SPG立式屏蔽管道离心泵上海沈泉泵阀制造有限公司为您提供:SPG屏蔽管道离心泵的性能参数表,安装尺 
 
- CQB-L磁力立式管道离心泵上海沈泉泵阀制造有限公司为您提供:CQB-L磁力管道离心泵的性能参数表,安装 
 
            




